一、概述
JLS-35高壓計量箱(組合互感器)主要由組合互感器和電度表箱兩部分組成,組合互感器由兩臺單相電壓互感器和兩臺電流互感器組成,電度表內配有有功和無功電度表各一臺,可分別計量有功電能和無功電能。具有計量精度高,重量輕,安裝方便,防竊電等優點。
二、使用環境條件
1、海拔高度不超過1000m;
2、環境溫度:zui高+40℃;日平均不超過30℃;zui低-25℃;
3、系統接地方式:中性點非有效接地系統;
4、大氣條件:大氣中無嚴重污穢。
三、結構特征
1、本產品由組合互感器和儀表箱兩個部分組成
2、組合互感器由兩只單相電壓互感器連體成為(PT)及兩只電流互感器(CT)組成,PT、CT均為電磁式,兩只PT繞組采用V/V聯結成三相測量裝置,兩只CT的一次繞組分別與電網A、C相串連。箱體側面焊有接地螺絲。
3、儀表箱與組合互感器的二次繞組出線相連接起來,儀表箱內裝三相有功電度表和無功電度表各一塊,從箱內觀察可清楚地讀抄數字。
四、產品驗收
1、檢查銘牌數據、合格證是否要求一致。
2、按產品裝箱單檢查產品的各部件、備件是否齊全;各個部件是否完好。
3、檢查各部件緊固螺絲、一次導桿、二次接線柱、電表接線有無松動現象。
4、工頻耐壓試驗:按照出廠試驗值的80%進行驗收。
5、電流互感器、電壓互感器的誤差檢驗。(國家標準)
6、檢查u、n220v控制電源輸出是否符合要求。
五、運輸貯存與售后服務
1、本產品的運輸,需在包裝條件下進行。運輸過程中不應受到劇烈振動和撞擊,其運輸安裝貯存應符合JB/T15464——1995(儀器儀表安裝通用技術條件)貯存地方應干燥通風,環境溫度不超過-25~40℃,相對濕度不超過85%,空氣中無腐蝕性氣體和霉菌。
2、本產品如在保修期內出現問題,請用戶不要自行打開箱體、表箱,要保持整體狀態,否則我公司不予保修。
3、我公司生產的產品在運行中出現問題,我公司自接到通知起,本省兩天內維修人員到達現場,外省根據路程遠近適當延長。
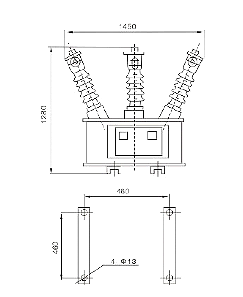
六、外形尺寸圖
推薦資訊 / Recommended News
- 2022-08-24 持久淺談真空斷路器的理倫
- 2022-08-24 持久淺淡真空斷路器
- 2022-08-24 智能真空斷路器的技術問題解答
- 2022-08-24 ZW32真空斷路器核心作用
- 2022-08-24 真空斷路器比較難處理的問題
- 2022-08-24 高壓真空斷路器的維護安裝
- 2022-07-23 真空斷路器壽命是哪些因素影響的
- 2022-07-23 真空斷路器跳閘次數多有沒有影響
- 2022-07-23 真空斷路器試驗過程中的事項
- 2022-07-23 真空斷路器原則和功能的研究范圍
樂清市持久電氣有限公司
收藏本站
聯系持久







